Chers utilisateurs,

Nous rencontrons actuellement des ralentissements sur nos serveurs pouvant impliquer des difficultés à vous connecter à Tahoma et Somfy Protect.

Nos équipes sont actuellement dédiées à la résolution de ce problème et nous vous tiendrons informés de l’avancement de la situation via ce bandeau d’information.

Veuillez nous excuser pour la gêne occasionnée et nous vous remercions pour votre compréhension.

L’équipe des Yellow’s SOMFY  

Question en attente de réponse

module on/off temporiser

bonjour
sur le module 1822487 il y a une fonction 1 minute a 10 minutes ( cette fonction ne me satisfait pas temps trop long )
je commande un automate a partir de ce module

je souhaiterai pouvoir éteindre le module en actionnant le contact s1 s2 3v
je ne trouve pas de doc concernant ces contacts et quel est leurs fonctions exact
il me faudrait ceci :
appel google home " allumer "
module passe a 1
impulsion sur S1, S2, 3V ??
module passe a O
je veux par la suite pouvoir rappeler gogo H " allumer "
bonne journée

Bernard
Bernard

Bernard

Niveau
1
521 / 750
points
  • Partager cette question

    Réponses

    Jean-Luc B.
    Jean-Luc B.

    Jean-Luc B.

    Niveau
    4
    5000 / 5000
    points

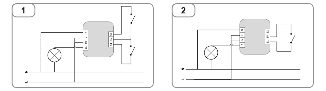
    Bonjour Bernard

    Ce module est un Zwave on/off sans temporisation

    Comme vous pouvez le voir sur le schéma les bornes S1, 3V, S2 servent à connecter boutons poussoir ou interrupteurs.

    Bonne journée !

    Bernard
    Bernard

    Bernard

    Niveau
    1
    521 / 750
    points

    merci pour votre aide !et copie du schéma de cablage
    désolé de vous contredire pour moi c 'est des inters et non des poussoirs
    et je n ai toujours pas compris la fonction des inters
    en 3v et S1 puis 3v et S2

    si le module est activé via gogo Ho je donne une impuls entre 3v et S1 il se passe quoi ?
    idem pour 3v et S2

    bonne saint valentin !!
    a plus

    Jean-Luc B.
    Jean-Luc B.

    Jean-Luc B.

    Niveau
    4
    5000 / 5000
    points

    Désolé de vous contredire, vous pouvez configurer le module, soit en poussoir, soit en inter.

    Bonne soirée !

    Haut de page